Тепловой насос Френетта: устройство и принцип работы + можно ли собрать самому?
Любители мастерить всегда найдут применение собственным силам, терпению и бросовым материалам. Из практически бесплатных комплектующих они запросто соорудят крайне полезную в быту вещь.
Например, смогут сделать эффективный тепловой насос Френетта своими руками, ничего не потратив. Зато пополнят багаж знаний и запас навыков, а это бесценно, ведь правда?
Представленная информация поможет разобраться в принципе действия агрегата. С нашей помощью вы сможете определиться с конструкцией и узнать, как изготавливается модель. Четкие инструкции по производству этого вида теплового насоса окажут действенную помощь самостоятельным домашним мастерам.
Мы приводим практические рекомендации по выпуску производительной самоделки и советы по эксплуатации такого оборудования.
Принцип работы устройства
Тем, кто соприкасался с вопросами экономически выгодного отопления, название “тепловой насос” хорошо знакомо. Особенно в сочетании с терминами типа “земля-вода”, “вода-вода”, или “воздух-вода” и т.п.
Такой тепловой насос с устройством Френетта не имеет практически ничего общего. Кроме названия и конечного результата в виде тепловой энергии, которую в итоге используют для обогрева.
Тепловые насосы, работающие на принципе Карно, очень популярны и как экономически выгодный способ организации отопления, и как экологически безопасная система.
Работа такого комплекса устройств связана с накоплением низкопотенциальной энергии, содержащейся в природных ресурсах (земле, воде, воздухе), и преобразованием ее в тепловую энергию с высоким потенциалом.
Изобретение Евгения Френетта устроено и работает совершенно иначе.
Галерея изображенийФото из Генерирующую тепло систему, разработанную Е. Френеттом, нельзя безоговорочно отнести к классу тепловых насосов. По конструктивным и технологическим признакам это обогреватель Агрегат не использует гео- или гелио-источники энергии в своей работе. Находящийся внутри него масляный теплоноситель разогревается от силы трения, создаваемой вращающимися металлическими дисками Рабочий орган насоса — маслонаполненный цилиндр, внутри которого расположена ось вращения. Это стальной стержень, оснащенный установленными примерно через 6 см параллельными дисками Центробежная сила выталкивает разогретый теплоноситель в присоединенный к прибору змеевик. Нагретое масло выходит из прибора в верхней точке соединения. Остывший теплоноситель возвращается обратно снизу Внешний вид теплового насоса ФренеттаРазогрев прибора во время работыОсновные конструктивные составляющиеРеальные размеры одной из моделей
Принцип действия этого прибора основан на использовании тепловой энергии, которая выделяется при трении. В основе конструкции — металлические поверхности, расположенные не вплотную друг к другу, а на некотором расстоянии. Пространство между ними заполняют жидкостью.
Части устройства вращаются относительно друг друга с помощью электромотора, жидкость, находящаяся внутри корпуса и контактирующая с вращающимися элементами, разогревается.
Полученное тепло можно использовать для нагрева теплоносителя. Некоторые источники рекомендуют использовать эту жидкость непосредственно для отопительной системы. Чаще всего к самодельному насосу Френетта присоединяют обычный радиатор.
В качестве теплоносителя системы отопления специалисты настоятельно рекомендуют использовать масло, а не воду.
В процессе работы насоса эта жидкость имеет свойство разогреваться очень сильно. Вода в таких условиях может просто закипеть. Горячий пар в замкнутом пространстве создает избыточное давление, а это обычно приводит к разрыву труб или корпуса. Использовать масло в такой ситуации намного безопаснее, поскольку его температура кипения значительно выше.

Для изготовления теплового насоса Френетта потребуется двигатель, радиатор, несколько труб, стальной дисковый затвор, стальные диски, металлический или пластиковый стержень, металлический цилиндр и гаечный набор (+)
Бытует мнение, что КПД такого теплогенератора превышает 100% и даже может составлять 1000%. С точки зрения физики и математики это не совсем корректное утверждение.
КПД отражает потери энергии, затраченные не на обогрев, а собственно на работу прибора. Скорее, феноменальные утверждения о невероятно высоком КПД насоса Френетта отражают его эффективность, которая действительно впечатляет. Затраты электроэнергии на работу прибора ничтожны, а вот количество полученного в результате тепла весьма ощутимы.
Нагрев теплоносителя до таких же температур с помощью ТЭНа для отопления, например, потребовал бы значительно большего количества электроэнергии, возможно, в десятки раз больше. Бытовой обогреватель при таком расходе электричества даже не нагрелся бы.
Почему же такими приборами не оборудованы все подряд жилые и промышленные помещения? Причины могут быть разными.
Во-первых, вода — более простой и удобный теплоноситель, чем масло. Она не нагревается до таких высоких температур, и устранить последствия протечек воды проще, чем убрать разлитое масло.
Во-вторых, к моменту изобретения насоса Френетта централизованная система отопления уже существовала и успешно функционировала. Ее демонтаж для замены на теплогенераторы обошелся бы слишком дорого и доставил бы массу неудобств, поэтому такой вариант никто всерьез даже не рассматривал. Как говорится, лучшее — враг хорошего.
Рекомендации по использованию прибора
Стоит отметить, что вариации насоса Евгения Френетта с использованием воды в качестве теплоносителя все же существуют. Но обычно это большие промышленные модели, которые используются на специализированных предприятиях.
Работа таких устройств строго контролируется с помощью специальных приборов. Обеспечить подобный уровень безопасности в домашних условиях практически невозможно.

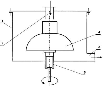
Общая схема промышленного теплогенератора, разработанного хабаровскими учеными: 1 — емкость; 2 — входной патрубок; 3 — выходной патрубок; 4 — водонагреватель; 5 — подшипниковый вал. В качестве теплоносителя используется вода
Самая популярная версия насоса Френетта, в котором в качестве теплоносителя используется вода, а не масло, это устройство, разработанное учеными из Хабаровска: Назыровой Натальей Ивановной, Леоновым Михаилом Павловичем и Сярг Александром Васильевичем. В этой грибовидной конструкции вода специально доводится до кипения и превращается в пар.
Затем используется реактивная сила пара, чтобы повысить скорость перемещения жидкого теплоносителя по каналам насоса до 135 м/мин. В результате затраты энергии на перемещение теплоносителя минимальны, а отдача в виде тепловой энергии очень высокая.
Однако такой агрегат должен быть исключительно прочным, и его работу следует постоянно контролировать, чтобы избежать аварии.
Что же делать, если с помощью насоса Френетта предполагается организовать обогрев большого помещения или целого дома? Вода — традиционный теплоноситель, большинство отопительных систем рассчитаны именно на него. Да и заполнение целой отопительной системы подходящим жидким маслом может оказаться делом затратным.
Решается этот вопрос очень просто. Нужно дополнительно соорудить обычный теплообменник, в котором разогретое масло будет обогревать воду, циркулирующую по отопительной системе. Некоторое количество тепла будет при этом потеряно, но общий эффект останется достаточно ощутимым.

Тепловой насос Френетта можно успешно использовать в сочетании с системами водяного теплого пола. Но вместо воды в трубы нужно залить жидкое масло
Интересной идеей может стать использование насоса Френетта в сочетании с системой теплого пола. Теплоноситель при этом пускают по узким пластиковым трубам, уложенным в бетонную стяжку.
Функционирует такая система обогрева так же, как и обычный водяной теплый пол. Разумеется, проект этого типа можно реализовать только в частном доме, поскольку для высотных многоквартирных домов разрешается использовать исключительно электрический теплый пол.
Практичный и удобный способ применения такого прибора — отопление небольшого помещения: гаража, сарая, мастерской и т.п. Насос Френетта позволяет эффективно и быстро решить проблему автономного отопления в таких местах.
Затраты электроэнергии для его работы невелики по сравнению с получаемым при этом тепловым эффектом, а соорудить такой агрегат не сложно из самых простых материалов.
Варианты конструкции насоса Френетта
Евгений Френетт не только изобрел устройство, названное его именем, но и неоднократно его усовершенствовал, придумывая все новые, более эффективные варианты прибора.
В самом первом насосе, который изобретатель запатентовал в 1977 году, были использованы только два цилиндра:
- наружный — полый цилиндр больше диаметром и находится в статичном состоянии
- внутренний — диаметр емкости немного меньше, чем размеры полости наружного цилиндра.
В получившееся узкое пространство между стенками двух цилиндров изобретатель залил жидкое масло. Разумеется, та часть конструкции, в которой находился этот жидкий теплоноситель, была тщательно заделана, чтобы не допустить протечек масла.

Это схема самого первого варианта теплового насоса Френетта. Вращающийся вал расположен горизонтально, теплоноситель помещен в узкое пространство между двумя рабочими цилиндрами (+)
Внутренний цилиндр соединяют с валом электродвигателя таким образом, чтобы обеспечить его быстрое вращение относительно неподвижного большого цилиндра. На противоположном торце конструкции был помещен вентилятор с крыльчаткой.
Во время работы масло разогревалось и передавало тепло воздуху, окружающему устройство. Вентилятор позволял быстро распространить теплый воздух по всему объему помещения.
Поскольку нагревалась эта конструкция довольно сильно, ради удобного и безопасного использования конструкция была спрятана в защитный корпус. Разумеется, в корпусе были сделаны отверстия для циркуляции воздуха.
Полезным дополнением к конструкции стал термостат, с помощью которого работу насоса Френетта можно было автоматизировать до некоторой степени.
Центральная ось в такой модели теплового насоса расположена вертикально. Двигатель находится внизу, затем установлены вложенные друг в друга цилиндры, а сверху находится вентилятор. Позднее появилась модель с горизонтальным расположением центральной оси.

Модель теплового насоса Френетта с горизонтально ориентированным вращающимся валом была использована вместе с радиатором отопления, внутри которого циркулировало нагретое масло (+)
Именно такое устройство впервые было использовано в сочетании не с вентилятором, а с радиатором отопления. Двигатель помещен сбоку, а вал ротора проходит через вращающийся барабан и выходит наружу.
В устройстве этого типа вентилятор отсутствует. Теплоноситель из насоса по трубам перемещается в радиатор. Подобным же образом нагретое масло можно вывести и на другой теплообменник или же прямо в трубы отопления.
Позднее конструкция теплового насоса френетта была существенно изменена. Вал ротора по-прежнему остался в горизонтальном положении, а вот внутренняя часть была сделана из двух вращающихся барабанов и помещенной между ними крыльчатки. В качестве теплоносителя здесь снова используется жидкое масло.

В этом варианте теплового насоса Френетта два цилидра вращаются рядом, они разделены крыльчаткой особой конструкции из очень прочного металла (+)
При вращении этой конструкции масло дополнительно нагревается, поскольку проходит через специальные отверстия, сделанные в крыльчатке, а затем проникает в узкую полость между стенками корпуса насоса и его ротором. Таким образом, эффективность насоса Френетта была существенно повышена.

По краям крыльчатки для теплового насоса Френетта сделаны небольшие отверстия. Теплоноситель быстро и эффективно нагревается, проходя через них (+)
Однако стоит отметить, что для изготовления в домашних условиях этот тип насоса не слишком подходит. Для начала понадобится найти достоверные чертежи или рассчитать конструкцию самостоятельно, а это под силу только опытному инженеру.
Затем понадобится найти особую крыльчатку с отверстиями подходящего размера. Этот элемент теплового насоса работает при повышенных нагрузках, поэтому он должен быть выполнен из очень прочных материалов.
Самостоятельное изготовление устройства
Обзор вариантов устройства насоса Френетта позволяет понять, что принципы его работы с той или иной долей эффективности могут быть использованы в конструкциях различного типа и вида. Основная идея остается прежней: узкое пространство между элементами из металла, заполненное маслом, и вращение с помощью электродвигателя.

На схеме представлен вариант теплового насоса Френетта, который обычно используется для самостоятельного изготовления устройства. Основа конструкции — металлические диски, разделенные гайками (+)
В домашних условиях чаще всего изготавливают насос Френетта, состоящий из ряда металлических пластин, разделенных узким просветом.
Чтобы изготовить такое устройство надо подготовить необходимые материалы:
- полый цилиндр из металла;
- набор одинаковых стальных дисков с отверстием по центру;
- набор гаек высотой 6 мм;
- стальной стержень с резьбой:
- электродвигатель с удлиненным валом;
- подшипник;
- радиатор отопления;
- соединительные трубы.
Размеры насоса могут быть больше или меньше. Но расстояние между дисками следует выдержать точно — 6 мм. В качестве разделителей используются стандартные гайки, а стальной стержень является центром конструкции.
Его толщина должна соответствовать диаметру гайки. Если стержня с резьбой под рукой не оказалось, ее придется просто нарезать.

Металлические диски для теплового насоса Френетта должны быть чуть меньше диаметра цилиндрического корпуса, чтобы обеспечить свободное вращение и борлее эффективный нагрев теплоносителя
Очевидно, что и отверстие в дисках должно быть таким, чтобы их можно было свободно надеть на осевой стержень. Наружный диаметр дисков должен быть меньше корпуса на несколько миллиметров. Если готовых элементов под рукой не оказалось, диски вырезают самостоятельно из листового металла или поручают эту работу токарю.

Стальные диски для теплового насоса Френетта можно вырезать в домашних условиях, если в наличии имеется подходящее оборудование
Цилиндрический корпус можно сделать из старой металлической емкости подходящей конфигурации или же сварить из металла. Подойдет и обрезок широкой металлической трубы.
К торцам цилиндра приваривают стенки. Корпус должен быть герметичным, чтобы масло не протекало. В верхнем и нижнем торце корпуса следует сделать дополнительные отверстия: для входа и выхода труб отопления, ведущих к радиатору.
Разумеется, все места соединения труб следует загерметизировать. Для резьбовых соединений используют специальные уплотнители: ФУМ-ленту, лен и т.п. Если решено использовать полипропиленовые трубы, понадобятся специальные фитинги и, возможно, паяльник для монтажа таких труб.
Для работы насоса Френетта высокопроизводительный электродвигатель не нужен. Подойдет устройство, снятое со старой или сломанной бытовой техники, например, с обычного вентилятора.
Главное назначение электродвигателя — вращать вал. Чрезмерно быстрое вращение может привести к некорректной работе устройства. Чем быстрее вращается конструкция, тем сильнее нагревается теплоноситель.

Небольшой двигатель для вращения вала теплового насоса Френетта можно снять с испорченной бытовой техники или приобрести в магазине
Чтобы стержень вращался свободно, нужен подходящий подшипник стандартных размеров. Когда все элементы подготовлены, можно начинать сборку устройства. Сначала на нижнюю часть внутри корпуса устанавливают центральную ось с подшипником. Затем на ось навинчивают разделительную гайку, затем надевают диск, снова — гайку, снова — диск и т.д.
Диски с гайками чередуют до тех пор, пока корпус не будет заполнен доверху. Еще на этапе подготовки можно сделать предварительные расчеты по количеству необходимых дисков и гаек.
Нужно к толщине гайки (6 мм) прибавить толщину диска. Высоту корпуса разделить на эту цифру. Полученное число даст сведения о нужном количестве пар “гайка+диск”. Последней устанавливают гайку.
После того, как корпус заполнен этими подвижными элементами, его заполняют жидким маслом. Тип масла значения не имеет, можно взять минеральное, хлопковое, рапсовое или любое другое масло, которое хорошо переносит нагрев и не застывает. После этого конструкцию накрывают верхней крышкой и аккуратно ее заваривают.
К этому моменту трубы радиатора уже обычно присоединены к крышкам. Для удобства во время дальнейшего монтажа и обслуживания устройства на трубах можно поставить два запорных крана. Теперь к валу двигателя нужно присоединить ось теплового насоса.
Систему включают в сеть, проверяют наличие протечек, оценивают характеристики работы устройства.

Изготовленный своими руками тепловой насос Френетта можно подключить к обычному чугунному или биметаллическому радиатору, который обеспечит необходимый отопительный эффект
Если все сделано правильно, ось с дисками начнет раскручиваться, разогревая находящееся внутри устройства масло. Горячий теплоноситель станет перемещаться через верхнее отверстие по трубе в радиатор отопления. Остывшее масло будет возвращаться в корпус теплового насоса по нижней трубе для повторного нагрева.
Чтобы автоматизировать работу системы, можно использовать специальное реле с термодатчиком, который фиксирует нагрев корпуса теплового насоса и отключает двигатель или включает его по мере необходимости. Это позволит предотвратить перегрев системы, поломку электродвигателя и в целом увеличит ресурс работы устройства.
Выводы и полезное видео по теме
Интересный вариант насоса Френетта представлен в этом видеоматериале:
К сожалению, насос Френетта не нашел широкого признания в сфере отопления. Такое устройство промышленного изготовления для бытовых нужд сложно найти в магазинах техники для дома. Но немало народных умельцев успешно использовали наработки этого ученого и применили их в своих жилищах, банях, гаражах и т.п.
Возможно именно вы являетесь тем самым самоделкиным, которому удалось воплотить идею Френетта? Пожалуйста, поделитесь своим опытом — оставляете комментарии к статье и добавляете фото своих изделий. Форма для связи расположена ниже.
Источник: sovet-ingenera.com